当前位置:首页 > 杏耀平台 >

杏耀注册浅谈石材等建筑幕墙抗震构造设计


 玻璃幕墙的抗震设计需考虑对幕墙本身设防和对幕墙所依附的建筑物主框架的变形限制。幕墙本身设防要求采用在设防烈度地震作用及其组合荷载作用下的面板不破损和幕墙框格杆件无残余变形。幕墙应依据所依附的建筑物主框架在幕墙平面内的变形确定幕墙的变形承载能力加以限制。抗震设防采用三个水准与二阶段设计,杏耀测速第二水准烈度地震作用是第一水准地震烈度的3倍。近似地,把在众值烈度地震作用下采用弹性方法计算的楼层层间位移与层高之比折算成第二水准弹塑性位移,就得到了与幕墙平面内变形临界值的对应值。以上分析表明,对幕墙平面内变形性能的要求与建筑结构类型有关,即要根据结构类型选用具有不同平面内变形性能的幕墙。
  幕墙自身其结构上采用的各种位移、伸缩、变位能力的处理措施(如幕墙立柱层间伸缩缝、立柱与横粱间伸缩缝、板块间缝隙控制填胶、玻璃的结构胶粘接、玻璃卡槽内间隙控制、胶垫软接触等等),使得幕墙构件不承担因地震使建筑主体结构产生变位而对它产生荷载(各种弯曲、拉伸、挤压等应力),从而保持了幕墙自身结构的完整和安全以及作为建筑外墙围护可靠功能。
  1.不同幕墙体系的构造要求
  (1)铝合金玻璃幕墙的抗震能力主要取决于它所依附的建筑主框架的抗震能力和自身的抗震构造。这样就需要对铝合金玻璃幕墙和幕墙所依附的建筑物两个方面都提出具体设防要求,即当铝合金玻璃幕墙所依附的建筑物遭受低于本地区设防烈度的多遇地震影响时,普通型幕墙与幕墙平面平行和垂直两个方向的主框架及隐框幕墙与幕墙平面垂直方向的主框架楼层内最大弹性层间位移角控制值可按下表的规定执行。
  在罕遇地震作用下结构薄弱层应进行弹塑变形验算。在抗震设计时,幕墙的抗震能力指标值应不小于主体结构弹性层间位移角控制值的3倍。特别要注意的是建筑结构为多、高层钢结构时,幕墙的抗震能力是非钢结构建筑幕墙的2倍以上,以适应钢结构的柔性变动能力。
  (2)明框、半隐框幕墙的玻璃边缘至边框槽底的间隙必须采用弹性材料填塞。隐框、半隐框幕墙板块间胶缝宽度应适当控制,应不小于12mm,并以弹性材料填塞,即内填泡沫棒外注硅酮耐候密封胶。
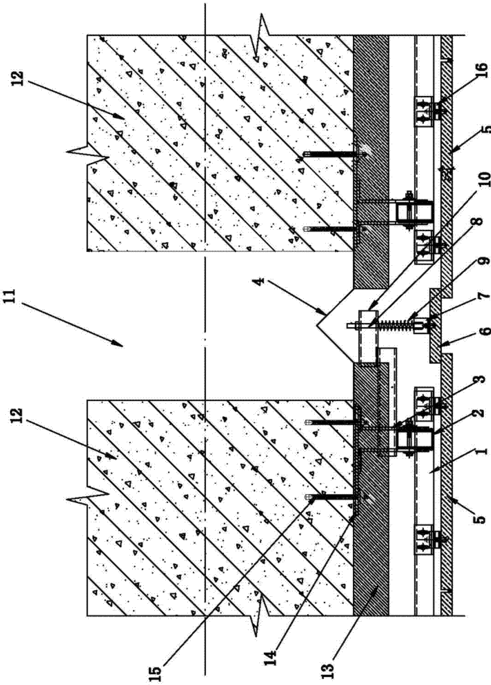
  (3)石材幕墙石材面板一般采用插件和挂件连接,为防止插件(挂勾)从插槽(挂槽)中脱出,GB/T21086《建筑幕墙》中石材面板挂装系统安装允许偏差对挂勾与挂槽搭接深度偏差、插件与插槽搭接深度偏差作了规定。对于普通短槽挂件石材幕墙合理地使用挂件槽弹性类填胶,可实现良好的抗震性能。对于背栓式石材(采用双切面背栓连接)具有良好抗震性能,但要严格控制孔径偏差不超过0.5mm,且孔深要大于15mm.
  (4)金属幕墙,由于面板不属于脆性材料,一般变形不会破坏。相对比玻璃幕墙有较好抗震性能。
  (5)钢结构雨篷由于采用钢龙骨,一般为独立系统,计算单独考虑地震作用,也具有较好的抗震能力。
  (6)点支承玻璃幕墙,由于支承头连接都能适应玻璃面板在支承点处的转动变形;杏耀测速支承头的钢材与玻璃之间应设置弹性材料的衬垫或衬套,衬垫和衬套的厚度不宜小于1mm,因此也具有较好抗寰性能。
  (7)全玻幕墙抗震性能较差,因此要求全玻璃幕墙的周边收口槽壁与玻璃面板或玻璃肋的空隙均不宜小于8mm,而且板面不得与其他刚性材料直接接触,板面与装修面或结构面的空隙不应小于8mm,且应采用密封胶密封。下端支承式全玻璃幕墙(落地玻璃)易被主体结构墙体变形挤坏,按规范要求玻璃高度超限的全玻幕墙应悬挂在主体结构上(即吊挂玻璃)。
  (8)单元式幕墙,一般为插接型,单元部件之间应有一定的搭接长度,竖向搭接长度不应小于10mm,横向搭接长度不应小于15mm.因此具有良好的抗震性能。

  • 关注微信

猜你喜欢