当前位置:首页 > 杏耀平台 >

【知识帖】幕墙龙骨安装经验分享

安装龙骨前,应当进行外墙基层处理及分格放样。基层处理一般为找到并清理外墙预埋钢板,并检查预埋钢板位置是否正确。杏耀信誉对发现预埋件偏移的要进行补强施工,现场我们采用后置锚栓钢板来补强,安装完成后经过抗拉拔试验验收合格方可进入下道工序。



  放线工作是后面龙骨安装的依据,必须重视。

【横向控制线】用水准仪引测士0.000m标高线作为主基准线,然后以楼层为单位设置横向基准线。横向分格由外墙顶而开始,以两片板材干挂高度值作为分格单位由上而下进行,并利用每层的基准线进行微调,消除误差。



【纵向控制线】首先应对原结构偏差进行了一次系统测量,分析了实际尺寸和设计尺寸的偏差值,如果现场实际尺寸偏差比较小,只要通过合理的分格便可以消除误差,反之就需要对结构进行处理。



  用经纬仪在建筑外墙上按每隔20m设置一道纵向基准线。根据分格尺寸(两片板材干挂宽度值为单位)对建筑外墙而进行纵向分格,杏耀信誉用铅垂引线,并测量上下点与基准线之间的距离,纠正偏差后弹线。纵向控制线和横向控制线构成了我们放线的平面控制网。



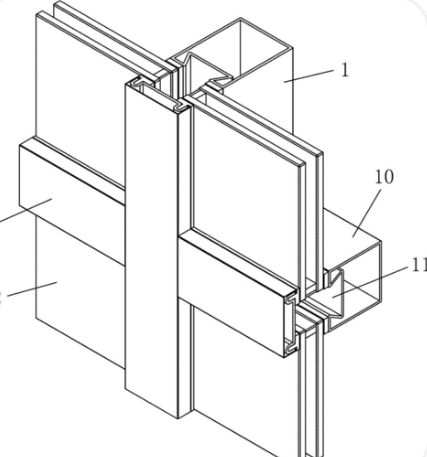
龙骨安装



  龙骨安装质量直接影响到石材的干挂效果。龙骨安装不牢固容易产生安全隐患,龙骨安装如果不在同一个平面上,容易造成后续工序石材扭曲,石材拼缝不合格等缺陷。所以,我们充分利用了前人的QC经验,建立了从主龙骨安装到次龙骨安装再到石材饰面安装质量控制的三级控制网。



  一级控制网:找出预埋件,确定主龙骨的型号、位置。根据分格来确定主龙骨的型号规格,并给龙骨编号,以保证所加工龙骨使用部位无偏差。主龙骨安装过程,严格与分格线相对应并拉线控制确保安装龙骨在同一平面,安装完成派专人逐层检查,并做好监控记录。



  主龙骨安装完成后及时做防腐及防锈处理,本工程防雷接地采取每层用镀锌扁铁与竖向龙骨焊接连接,然后与墙体、梁的防雷接地点焊接的方式。工序完成验收后进入下道工序。

  • 关注微信

猜你喜欢